Transmission Hard Parts for 2012 Chrysler 300
Vehicle
2012 Chrysler 300
Change Vehicle
- Aperture Panel
- Bumper & Components - Front
- Bumper & Components - Rear
- Cluster & Switches
- Console
- Cowl
- Door & Components
- Ducts
- Exterior Trim - Front Door
- Exterior Trim - Pillars
- Exterior Trim - Rear Door
- Exterior Trim - Trunk
- Fender & Components
- Floor & Rails
- Front Door
- Front Seat Components
- Glass - Front Door
- Glass - Rear Door
- Glass - Windshield
- Glass & Hardware - Back
- Glass, Windows & Related Components
- Glove Box
- Grille & Components
- Hood & Components
- Inner Structure
- Instrument Panel
- Interior Trim - Front Door
- Interior Trim - Pillars
- Interior Trim - Quarter Panels
- Interior Trim - Rear Body
- Interior Trim - Rear Door
- Interior Trim - Roof
- Interior Trim - Trunk
- Jack & Components
- Labels
- Lid & Components
- Lock & Hardware
- Master Cylinder - Components On Dash Panel
- Outside Mirrors
- Overhead Console
- Quarter Panel & Components
- Radiator Support
- Rear Body
- Rear Door
- Rear Floor & Rails
- Rear Seat Components
- Roof & Components
- Seat Belt
- Sound System
- Splash Shields
- Structural Components & Rails
- Tracks & Components
- Trunk
- Wiper & Washer Components
- ABS Components
- Air Bag Components
- Alternator
- Antenna & Radio
- Automatic Transmission
- Battery
- Battery & Related Components
- Bulbs - Chassis
- Communication System Components
- Controls
- Cruise Control System
- Driver Information Center
- Electrical Components
- Fog Lamps
- Front Door
- Front Seat Belts
- Fuel Door
- Fuse & Relay
- Headlamp Components
- Heated Seats
- High Mounted Stop Lamp
- Horn
- Ignition Lock
- Ignition System
- Instruments & Gauges
- Keyless Entry Components
- Lane Departure Warning
- License Lamps
- Lumbar Control Seats
- Mirrors
- Navigation System
- Navigation System Components
- Parking Aid
- Power Seats
- Powertrain Control
- Rear Door
- Rear Seat Belts
- Senders
- Sensors
- Starter
- Sunroof
- Switches
- Switches, Solenoids & Actuators
- Tail Lamps
- Tire Pressure Monitor Components
- Trunk
- Wipers
- Wiring Harness
- Aperture Panel
- Bumper & Components - Front
- Bumper & Components - Rear
- Cluster & Switches
- Console
- Cowl
- Door & Components
- Ducts
- Exterior Trim - Front Door
- Exterior Trim - Pillars
- Exterior Trim - Rear Door
- Exterior Trim - Trunk
- Fender & Components
- Floor & Rails
- Front Door
- Front Seat Components
- Glass - Front Door
- Glass - Rear Door
- Glass - Windshield
- Glass & Hardware - Back
- Glass, Windows & Related Components
- Glove Box
- Grille & Components
- Hood & Components
- Inner Structure
- Instrument Panel
- Interior Trim - Front Door
- Interior Trim - Pillars
- Interior Trim - Quarter Panels
- Interior Trim - Rear Body
- Interior Trim - Rear Door
- Interior Trim - Roof
- Interior Trim - Trunk
- Jack & Components
- Labels
- Lid & Components
- Lock & Hardware
- Master Cylinder - Components On Dash Panel
- Outside Mirrors
- Overhead Console
- Quarter Panel & Components
- Radiator Support
- Rear Body
- Rear Door
- Rear Floor & Rails
- Rear Seat Components
- Roof & Components
- Seat Belt
- Sound System
- Splash Shields
- Structural Components & Rails
- Tracks & Components
- Trunk
- Wiper & Washer Components
- ABS Components
- Air Bag Components
- Alternator
- Antenna & Radio
- Automatic Transmission
- Battery
- Battery & Related Components
- Bulbs - Chassis
- Communication System Components
- Controls
- Cruise Control System
- Driver Information Center
- Electrical Components
- Fog Lamps
- Front Door
- Front Seat Belts
- Fuel Door
- Fuse & Relay
- Headlamp Components
- Heated Seats
- High Mounted Stop Lamp
- Horn
- Ignition Lock
- Ignition System
- Instruments & Gauges
- Keyless Entry Components
- Lane Departure Warning
- License Lamps
- Lumbar Control Seats
- Mirrors
- Navigation System
- Navigation System Components
- Parking Aid
- Power Seats
- Powertrain Control
- Rear Door
- Rear Seat Belts
- Senders
- Sensors
- Starter
- Sunroof
- Switches
- Switches, Solenoids & Actuators
- Tail Lamps
- Tire Pressure Monitor Components
- Trunk
- Wipers
- Wiring Harness
Browse Categories
Select category
- Aperture Panel
- Bumper & Components - Front
- Bumper & Components - Rear
- Cluster & Switches
- Console
- Cowl
- Door & Components
- Ducts
- Exterior Trim - Front Door
- Exterior Trim - Pillars
- Exterior Trim - Rear Door
- Exterior Trim - Trunk
- Fender & Components
- Floor & Rails
- Front Door
- Front Seat Components
- Glass - Front Door
- Glass - Rear Door
- Glass - Windshield
- Glass & Hardware - Back
- Glass, Windows & Related Components
- Glove Box
- Grille & Components
- Hood & Components
- Inner Structure
- Instrument Panel
- Interior Trim - Front Door
- Interior Trim - Pillars
- Interior Trim - Quarter Panels
- Interior Trim - Rear Body
- Interior Trim - Rear Door
- Interior Trim - Roof
- Interior Trim - Trunk
- Jack & Components
- Labels
- Lid & Components
- Lock & Hardware
- Master Cylinder - Components On Dash Panel
- Outside Mirrors
- Overhead Console
- Quarter Panel & Components
- Radiator Support
- Rear Body
- Rear Door
- Rear Floor & Rails
- Rear Seat Components
- Roof & Components
- Seat Belt
- Sound System
- Splash Shields
- Structural Components & Rails
- Tracks & Components
- Trunk
- Wiper & Washer Components
- ABS Components
- Air Bag Components
- Alternator
- Antenna & Radio
- Automatic Transmission
- Battery
- Battery & Related Components
- Bulbs - Chassis
- Communication System Components
- Controls
- Cruise Control System
- Driver Information Center
- Electrical Components
- Fog Lamps
- Front Door
- Front Seat Belts
- Fuel Door
- Fuse & Relay
- Headlamp Components
- Heated Seats
- High Mounted Stop Lamp
- Horn
- Ignition Lock
- Ignition System
- Instruments & Gauges
- Keyless Entry Components
- Lane Departure Warning
- License Lamps
- Lumbar Control Seats
- Mirrors
- Navigation System
- Navigation System Components
- Parking Aid
- Power Seats
- Powertrain Control
- Rear Door
- Rear Seat Belts
- Senders
- Sensors
- Starter
- Sunroof
- Switches
- Switches, Solenoids & Actuators
- Tail Lamps
- Tire Pressure Monitor Components
- Trunk
- Wipers
- Wiring Harness
- Aperture Panel
- Bumper & Components - Front
- Bumper & Components - Rear
- Cluster & Switches
- Console
- Cowl
- Door & Components
- Ducts
- Exterior Trim - Front Door
- Exterior Trim - Pillars
- Exterior Trim - Rear Door
- Exterior Trim - Trunk
- Fender & Components
- Floor & Rails
- Front Door
- Front Seat Components
- Glass - Front Door
- Glass - Rear Door
- Glass - Windshield
- Glass & Hardware - Back
- Glass, Windows & Related Components
- Glove Box
- Grille & Components
- Hood & Components
- Inner Structure
- Instrument Panel
- Interior Trim - Front Door
- Interior Trim - Pillars
- Interior Trim - Quarter Panels
- Interior Trim - Rear Body
- Interior Trim - Rear Door
- Interior Trim - Roof
- Interior Trim - Trunk
- Jack & Components
- Labels
- Lid & Components
- Lock & Hardware
- Master Cylinder - Components On Dash Panel
- Outside Mirrors
- Overhead Console
- Quarter Panel & Components
- Radiator Support
- Rear Body
- Rear Door
- Rear Floor & Rails
- Rear Seat Components
- Roof & Components
- Seat Belt
- Sound System
- Splash Shields
- Structural Components & Rails
- Tracks & Components
- Trunk
- Wiper & Washer Components
- ABS Components
- Air Bag Components
- Alternator
- Antenna & Radio
- Automatic Transmission
- Battery
- Battery & Related Components
- Bulbs - Chassis
- Communication System Components
- Controls
- Cruise Control System
- Driver Information Center
- Electrical Components
- Fog Lamps
- Front Door
- Front Seat Belts
- Fuel Door
- Fuse & Relay
- Headlamp Components
- Heated Seats
- High Mounted Stop Lamp
- Horn
- Ignition Lock
- Ignition System
- Instruments & Gauges
- Keyless Entry Components
- Lane Departure Warning
- License Lamps
- Lumbar Control Seats
- Mirrors
- Navigation System
- Navigation System Components
- Parking Aid
- Power Seats
- Powertrain Control
- Rear Door
- Rear Seat Belts
- Senders
- Sensors
- Starter
- Sunroof
- Switches
- Switches, Solenoids & Actuators
- Tail Lamps
- Tire Pressure Monitor Components
- Trunk
- Wipers
- Wiring Harness
No.
Part # / Description / Price
Price
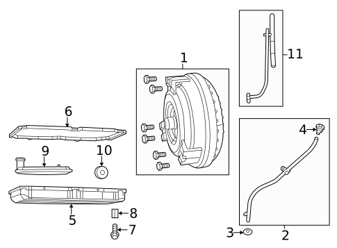
1
2
MSRP $288.00 CAD
$191.81 CAD
3
4
Cap
Mopar
Mopar Notes: PARTS: Part included with filler tube.
Description: 3.6L. 2.4L, 6 speed trans. 3.5L. 2.7L.
MSRP $36.45 CAD
$27.34 CAD
MSRP $36.45 CAD
$27.34 CAD
5
Trans Pan
Mopar
Mopar Description: 2012-18. 5 speed trans. Durango. 3.6l. 3.7L. 300. 6.1L.
MSRP $193.00 CAD
$130.66 CAD
MSRP $193.00 CAD
$130.66 CAD
7
8
10
MSRP $18.70 CAD
$14.01 CAD
1 This price excludes a refundable manufacturer's core charge. Add the part to your cart to see the core charge.


