Battery & Related Components for 2007 Dodge Durango
Vehicle
2007 Dodge Durango
Change Vehicle
- Bumper & Components - Front
- Bumper & Components - Rear
- Center
- Cluster & Switches
- Cowl
- Door & Components
- Ducts
- Exterior Trim - Fender
- Exterior Trim - Front Door
- Exterior Trim - Lift Gate
- Exterior Trim - Quarter Panel
- Exterior Trim - Rear Door
- Fender & Components
- Floor
- Frame & Components
- Front Door
- Front Seat Components
- Gate & Hardware
- Glass - Front Door
- Glass - Lift Gate
- Glass - Rear Door
- Glass - Windshield
- Glass & Hardware
- Glove Box
- Grille & Components
- Hinge Pillar
- Hood & Components
- Inner Structure
- Instrument Panel
- Interior Trim
- Interior Trim - Front Door
- Interior Trim - Pillars
- Interior Trim - Quarter Panels
- Interior Trim - Rear Body
- Interior Trim - Rear Door
- Interior Trim - Roof
- Labels
- Liftgate
- Lock & Hardware
- Luggage Carrier
- Master Cylinder - Components On Dash Panel
- Outside Mirrors
- Overhead Console
- Quarter Panel & Components
- Radiator Support
- Rear Body
- Rear Door
- Rear Floor & Rails
- Rear Seat Components
- Reveal Moldings
- Rocker
- Roof & Components
- Running Board
- Seat Belt
- Shifter Trim
- Sound System
- Spare Tire Carrier
- Structural Components & Rails
- Sunroof
- Tracks & Components
- Trailer Hitch Components
- Wiper & Washer Components
- ABS Components
- Air Bag Components
- Alternator
- Antenna & Radio
- Automatic Transmission
- Battery
- Battery & Related Components
- Bulbs - Chassis
- Cruise Control System
- Electrical Components
- Entertainment System Components
- Fog Lamps
- Front Door
- Front Seat Belts
- Headlamp Components
- Heated Seats
- High Mounted Stop Lamp
- Horn
- Ignition Lock
- Ignition System
- Instruments & Gauges
- Keyless Entry Components
- License Lamps
- Liftgate
- Mirrors
- Navigation System
- Navigation System Components
- Parking Aid
- Power Seats
- Powertrain Control
- Rear Door
- Rear Seat Belts
- Senders
- Starter
- Sunroof
- Switches
- Tail Lamps
- Tire Pressure Monitor Components
- Wipers
- Wiring Harness
- Bumper & Components - Front
- Bumper & Components - Rear
- Center
- Cluster & Switches
- Cowl
- Door & Components
- Ducts
- Exterior Trim - Fender
- Exterior Trim - Front Door
- Exterior Trim - Lift Gate
- Exterior Trim - Quarter Panel
- Exterior Trim - Rear Door
- Fender & Components
- Floor
- Frame & Components
- Front Door
- Front Seat Components
- Gate & Hardware
- Glass - Front Door
- Glass - Lift Gate
- Glass - Rear Door
- Glass - Windshield
- Glass & Hardware
- Glove Box
- Grille & Components
- Hinge Pillar
- Hood & Components
- Inner Structure
- Instrument Panel
- Interior Trim
- Interior Trim - Front Door
- Interior Trim - Pillars
- Interior Trim - Quarter Panels
- Interior Trim - Rear Body
- Interior Trim - Rear Door
- Interior Trim - Roof
- Labels
- Liftgate
- Lock & Hardware
- Luggage Carrier
- Master Cylinder - Components On Dash Panel
- Outside Mirrors
- Overhead Console
- Quarter Panel & Components
- Radiator Support
- Rear Body
- Rear Door
- Rear Floor & Rails
- Rear Seat Components
- Reveal Moldings
- Rocker
- Roof & Components
- Running Board
- Seat Belt
- Shifter Trim
- Sound System
- Spare Tire Carrier
- Structural Components & Rails
- Sunroof
- Tracks & Components
- Trailer Hitch Components
- Wiper & Washer Components
- ABS Components
- Air Bag Components
- Alternator
- Antenna & Radio
- Automatic Transmission
- Battery
- Battery & Related Components
- Bulbs - Chassis
- Cruise Control System
- Electrical Components
- Entertainment System Components
- Fog Lamps
- Front Door
- Front Seat Belts
- Headlamp Components
- Heated Seats
- High Mounted Stop Lamp
- Horn
- Ignition Lock
- Ignition System
- Instruments & Gauges
- Keyless Entry Components
- License Lamps
- Liftgate
- Mirrors
- Navigation System
- Navigation System Components
- Parking Aid
- Power Seats
- Powertrain Control
- Rear Door
- Rear Seat Belts
- Senders
- Starter
- Sunroof
- Switches
- Tail Lamps
- Tire Pressure Monitor Components
- Wipers
- Wiring Harness
Browse Categories
Select category
- Bumper & Components - Front
- Bumper & Components - Rear
- Center
- Cluster & Switches
- Cowl
- Door & Components
- Ducts
- Exterior Trim - Fender
- Exterior Trim - Front Door
- Exterior Trim - Lift Gate
- Exterior Trim - Quarter Panel
- Exterior Trim - Rear Door
- Fender & Components
- Floor
- Frame & Components
- Front Door
- Front Seat Components
- Gate & Hardware
- Glass - Front Door
- Glass - Lift Gate
- Glass - Rear Door
- Glass - Windshield
- Glass & Hardware
- Glove Box
- Grille & Components
- Hinge Pillar
- Hood & Components
- Inner Structure
- Instrument Panel
- Interior Trim
- Interior Trim - Front Door
- Interior Trim - Pillars
- Interior Trim - Quarter Panels
- Interior Trim - Rear Body
- Interior Trim - Rear Door
- Interior Trim - Roof
- Labels
- Liftgate
- Lock & Hardware
- Luggage Carrier
- Master Cylinder - Components On Dash Panel
- Outside Mirrors
- Overhead Console
- Quarter Panel & Components
- Radiator Support
- Rear Body
- Rear Door
- Rear Floor & Rails
- Rear Seat Components
- Reveal Moldings
- Rocker
- Roof & Components
- Running Board
- Seat Belt
- Shifter Trim
- Sound System
- Spare Tire Carrier
- Structural Components & Rails
- Sunroof
- Tracks & Components
- Trailer Hitch Components
- Wiper & Washer Components
- ABS Components
- Air Bag Components
- Alternator
- Antenna & Radio
- Automatic Transmission
- Battery
- Battery & Related Components
- Bulbs - Chassis
- Cruise Control System
- Electrical Components
- Entertainment System Components
- Fog Lamps
- Front Door
- Front Seat Belts
- Headlamp Components
- Heated Seats
- High Mounted Stop Lamp
- Horn
- Ignition Lock
- Ignition System
- Instruments & Gauges
- Keyless Entry Components
- License Lamps
- Liftgate
- Mirrors
- Navigation System
- Navigation System Components
- Parking Aid
- Power Seats
- Powertrain Control
- Rear Door
- Rear Seat Belts
- Senders
- Starter
- Sunroof
- Switches
- Tail Lamps
- Tire Pressure Monitor Components
- Wipers
- Wiring Harness
- Bumper & Components - Front
- Bumper & Components - Rear
- Center
- Cluster & Switches
- Cowl
- Door & Components
- Ducts
- Exterior Trim - Fender
- Exterior Trim - Front Door
- Exterior Trim - Lift Gate
- Exterior Trim - Quarter Panel
- Exterior Trim - Rear Door
- Fender & Components
- Floor
- Frame & Components
- Front Door
- Front Seat Components
- Gate & Hardware
- Glass - Front Door
- Glass - Lift Gate
- Glass - Rear Door
- Glass - Windshield
- Glass & Hardware
- Glove Box
- Grille & Components
- Hinge Pillar
- Hood & Components
- Inner Structure
- Instrument Panel
- Interior Trim
- Interior Trim - Front Door
- Interior Trim - Pillars
- Interior Trim - Quarter Panels
- Interior Trim - Rear Body
- Interior Trim - Rear Door
- Interior Trim - Roof
- Labels
- Liftgate
- Lock & Hardware
- Luggage Carrier
- Master Cylinder - Components On Dash Panel
- Outside Mirrors
- Overhead Console
- Quarter Panel & Components
- Radiator Support
- Rear Body
- Rear Door
- Rear Floor & Rails
- Rear Seat Components
- Reveal Moldings
- Rocker
- Roof & Components
- Running Board
- Seat Belt
- Shifter Trim
- Sound System
- Spare Tire Carrier
- Structural Components & Rails
- Sunroof
- Tracks & Components
- Trailer Hitch Components
- Wiper & Washer Components
- ABS Components
- Air Bag Components
- Alternator
- Antenna & Radio
- Automatic Transmission
- Battery
- Battery & Related Components
- Bulbs - Chassis
- Cruise Control System
- Electrical Components
- Entertainment System Components
- Fog Lamps
- Front Door
- Front Seat Belts
- Headlamp Components
- Heated Seats
- High Mounted Stop Lamp
- Horn
- Ignition Lock
- Ignition System
- Instruments & Gauges
- Keyless Entry Components
- License Lamps
- Liftgate
- Mirrors
- Navigation System
- Navigation System Components
- Parking Aid
- Power Seats
- Powertrain Control
- Rear Door
- Rear Seat Belts
- Senders
- Starter
- Sunroof
- Switches
- Tail Lamps
- Tire Pressure Monitor Components
- Wipers
- Wiring Harness
No.
Part # / Description / Price
Price
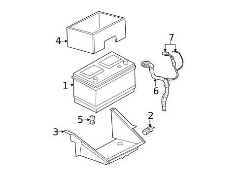
1
Vehicle Battery 2
Mopar
Mopar Notes: PARTS: Part numbers listed are for estimating purposes only. Order by application.
Description: STORAGE
1
Vehicle Battery 2
Mopar
Mopar Description: Group 65. Vendor #BA06 5600EX. Vendor:mopar. Jci. 600 cca. 60 Month.
4
Thermo Guard 2
Mopar
Mopar Description: Mega cab, 5.9 & 6.7L diesel. Reg & quad cab, 5.9 & 6.7L diesel. 3.7, 4.7 & 5.9L, 2002-03. 8.0L. 5.7L, 750 amps. 8.3L. 2004-05 3.7 & 4.7L. 750 amps.
MSRP $31.30 CAD
$23.46 CAD
MSRP $31.30 CAD
$23.46 CAD
6
2 This part contains hazardous materials. Extra shipping costs apply.


