Interior Trim - Roof for 2006 Jeep Liberty
Vehicle
2006 Jeep Liberty
Change Vehicle
- Aperture Panel
- Back Door
- Bumper & Components - Front
- Bumper & Components - Rear
- Carrier & Components
- Center
- Cluster & Switches
- Cowl
- Door
- Door & Components
- Ducts
- Exterior Trim - Fender
- Exterior Trim - Front Door
- Exterior Trim - Hood
- Exterior Trim - Quarter Panel
- Exterior Trim - Rear Door
- Exterior Trim - Roof
- Exterior Trim - Tail Gate
- Fender & Components
- Floor & Rails
- Front Door
- Front Seat Components
- Gate & Hardware
- Glass - Front Door
- Glass - Lift Gate
- Glass - Rear Door
- Glass - Windshield
- Glass & Hardware
- Glove Box
- Grille & Components
- Hood & Components
- Instrument Panel
- Interior Trim - Front Door
- Interior Trim - Pillars
- Interior Trim - Quarter Panels
- Interior Trim - Rear Body
- Interior Trim - Rear Door
- Interior Trim - Roof
- Interior Trim - Tail Gate
- Labels
- Liftgate
- Lock & Hardware
- Luggage Carrier
- Master Cylinder - Components On Dash Panel
- Outside Mirrors
- Overhead Console
- Quarter Panel & Components
- Radiator Support
- Rear Door
- Rear Floor & Rails
- Rear Seat Components
- Roof & Components
- Seat Belt
- Sound System
- Structural Components & Rails
- Sunroof
- Tracks & Components
- Uniside
- Wiper & Washer Components
- ABS Components
- Air Bag Components
- Alternator
- Antenna & Radio
- Anti-Theft Components
- Automatic Transmission
- Battery
- Bulbs - Chassis
- Combination Lamps
- Controls
- Cruise Control System
- Diesel Components
- Fog Lamps
- Front Door
- Front Seat Belts
- Headlamp Components
- Heated Seats
- High Mount Lamps
- Horn
- Ignition Lock
- Ignition System
- Instruments & Gauges
- Keyless Entry Components
- License Lamps
- Park & Side Marker Lamps
- Power Mirror
- Power Seats
- Powertrain Control
- Rear Door
- Rear Seat Belts
- Senders
- Side Marker Lamps
- Side Repeater Lamps
- Starter
- Sunroof
- Switches
- Tire Pressure Monitor Components
- Wipers
- Wiring Harness
- Aperture Panel
- Back Door
- Bumper & Components - Front
- Bumper & Components - Rear
- Carrier & Components
- Center
- Cluster & Switches
- Cowl
- Door
- Door & Components
- Ducts
- Exterior Trim - Fender
- Exterior Trim - Front Door
- Exterior Trim - Hood
- Exterior Trim - Quarter Panel
- Exterior Trim - Rear Door
- Exterior Trim - Roof
- Exterior Trim - Tail Gate
- Fender & Components
- Floor & Rails
- Front Door
- Front Seat Components
- Gate & Hardware
- Glass - Front Door
- Glass - Lift Gate
- Glass - Rear Door
- Glass - Windshield
- Glass & Hardware
- Glove Box
- Grille & Components
- Hood & Components
- Instrument Panel
- Interior Trim - Front Door
- Interior Trim - Pillars
- Interior Trim - Quarter Panels
- Interior Trim - Rear Body
- Interior Trim - Rear Door
- Interior Trim - Roof
- Interior Trim - Tail Gate
- Labels
- Liftgate
- Lock & Hardware
- Luggage Carrier
- Master Cylinder - Components On Dash Panel
- Outside Mirrors
- Overhead Console
- Quarter Panel & Components
- Radiator Support
- Rear Door
- Rear Floor & Rails
- Rear Seat Components
- Roof & Components
- Seat Belt
- Sound System
- Structural Components & Rails
- Sunroof
- Tracks & Components
- Uniside
- Wiper & Washer Components
- ABS Components
- Air Bag Components
- Alternator
- Antenna & Radio
- Anti-Theft Components
- Automatic Transmission
- Battery
- Bulbs - Chassis
- Combination Lamps
- Controls
- Cruise Control System
- Diesel Components
- Fog Lamps
- Front Door
- Front Seat Belts
- Headlamp Components
- Heated Seats
- High Mount Lamps
- Horn
- Ignition Lock
- Ignition System
- Instruments & Gauges
- Keyless Entry Components
- License Lamps
- Park & Side Marker Lamps
- Power Mirror
- Power Seats
- Powertrain Control
- Rear Door
- Rear Seat Belts
- Senders
- Side Marker Lamps
- Side Repeater Lamps
- Starter
- Sunroof
- Switches
- Tire Pressure Monitor Components
- Wipers
- Wiring Harness
Browse Categories
Select category
- Aperture Panel
- Back Door
- Bumper & Components - Front
- Bumper & Components - Rear
- Carrier & Components
- Center
- Cluster & Switches
- Cowl
- Door
- Door & Components
- Ducts
- Exterior Trim - Fender
- Exterior Trim - Front Door
- Exterior Trim - Hood
- Exterior Trim - Quarter Panel
- Exterior Trim - Rear Door
- Exterior Trim - Roof
- Exterior Trim - Tail Gate
- Fender & Components
- Floor & Rails
- Front Door
- Front Seat Components
- Gate & Hardware
- Glass - Front Door
- Glass - Lift Gate
- Glass - Rear Door
- Glass - Windshield
- Glass & Hardware
- Glove Box
- Grille & Components
- Hood & Components
- Instrument Panel
- Interior Trim - Front Door
- Interior Trim - Pillars
- Interior Trim - Quarter Panels
- Interior Trim - Rear Body
- Interior Trim - Rear Door
- Interior Trim - Roof
- Interior Trim - Tail Gate
- Labels
- Liftgate
- Lock & Hardware
- Luggage Carrier
- Master Cylinder - Components On Dash Panel
- Outside Mirrors
- Overhead Console
- Quarter Panel & Components
- Radiator Support
- Rear Door
- Rear Floor & Rails
- Rear Seat Components
- Roof & Components
- Seat Belt
- Sound System
- Structural Components & Rails
- Sunroof
- Tracks & Components
- Uniside
- Wiper & Washer Components
- ABS Components
- Air Bag Components
- Alternator
- Antenna & Radio
- Anti-Theft Components
- Automatic Transmission
- Battery
- Bulbs - Chassis
- Combination Lamps
- Controls
- Cruise Control System
- Diesel Components
- Fog Lamps
- Front Door
- Front Seat Belts
- Headlamp Components
- Heated Seats
- High Mount Lamps
- Horn
- Ignition Lock
- Ignition System
- Instruments & Gauges
- Keyless Entry Components
- License Lamps
- Park & Side Marker Lamps
- Power Mirror
- Power Seats
- Powertrain Control
- Rear Door
- Rear Seat Belts
- Senders
- Side Marker Lamps
- Side Repeater Lamps
- Starter
- Sunroof
- Switches
- Tire Pressure Monitor Components
- Wipers
- Wiring Harness
- Aperture Panel
- Back Door
- Bumper & Components - Front
- Bumper & Components - Rear
- Carrier & Components
- Center
- Cluster & Switches
- Cowl
- Door
- Door & Components
- Ducts
- Exterior Trim - Fender
- Exterior Trim - Front Door
- Exterior Trim - Hood
- Exterior Trim - Quarter Panel
- Exterior Trim - Rear Door
- Exterior Trim - Roof
- Exterior Trim - Tail Gate
- Fender & Components
- Floor & Rails
- Front Door
- Front Seat Components
- Gate & Hardware
- Glass - Front Door
- Glass - Lift Gate
- Glass - Rear Door
- Glass - Windshield
- Glass & Hardware
- Glove Box
- Grille & Components
- Hood & Components
- Instrument Panel
- Interior Trim - Front Door
- Interior Trim - Pillars
- Interior Trim - Quarter Panels
- Interior Trim - Rear Body
- Interior Trim - Rear Door
- Interior Trim - Roof
- Interior Trim - Tail Gate
- Labels
- Liftgate
- Lock & Hardware
- Luggage Carrier
- Master Cylinder - Components On Dash Panel
- Outside Mirrors
- Overhead Console
- Quarter Panel & Components
- Radiator Support
- Rear Door
- Rear Floor & Rails
- Rear Seat Components
- Roof & Components
- Seat Belt
- Sound System
- Structural Components & Rails
- Sunroof
- Tracks & Components
- Uniside
- Wiper & Washer Components
- ABS Components
- Air Bag Components
- Alternator
- Antenna & Radio
- Anti-Theft Components
- Automatic Transmission
- Battery
- Bulbs - Chassis
- Combination Lamps
- Controls
- Cruise Control System
- Diesel Components
- Fog Lamps
- Front Door
- Front Seat Belts
- Headlamp Components
- Heated Seats
- High Mount Lamps
- Horn
- Ignition Lock
- Ignition System
- Instruments & Gauges
- Keyless Entry Components
- License Lamps
- Park & Side Marker Lamps
- Power Mirror
- Power Seats
- Powertrain Control
- Rear Door
- Rear Seat Belts
- Senders
- Side Marker Lamps
- Side Repeater Lamps
- Starter
- Sunroof
- Switches
- Tire Pressure Monitor Components
- Wipers
- Wiring Harness
No.
Part # / Description / Price
Price
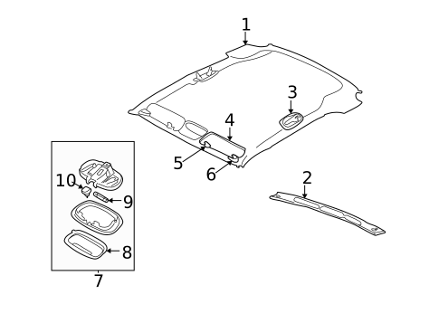
1
Headliner
Mopar
Mopar Notes: PARTS: Order by description.
Description: Without overhead console & sunroof, slate gray.
1
Headliner
Mopar
Mopar Notes: PARTS: Order by description.
Description: Without overhead console & side air bags, slate gray.
1
Headliner
Mopar
Mopar Notes: PARTS: Order by description.
Description: With overhead console & side air bags, slate gray.
3
3
4
4
4
Sun-Visor
Mopar
Mopar Positions: Left
Notes: PARTS: Order by color.
Description: Without illuminated, all.
4
Sun-Visor
Mopar
Mopar Positions: Right
Notes: PARTS: Order by color.
Description: Without illuminated, all.
5
MSRP $35.55 CAD
$26.66 CAD
8
Lens
Mopar
Mopar Notes: PARTS: Part included with cargo lamp.
Description: Regular cab, headliner & components, with switch. Quad & crew cab. Crew cab, headliner & components, without led. Crew cab headliner & components. with switch. Dome. Quad cab headliner & components. Mega cab, headliner & components.
MSRP $57.75 CAD
$40.52 CAD
MSRP $57.75 CAD
$40.52 CAD
9
Reading Lmp Bulb
Mopar
Mopar Positions: Left
Notes: PARTS: Part included with cargo lamp.
MSRP $8.25 CAD
$6.16 CAD
MSRP $8.25 CAD
$6.16 CAD
Related Parts
Part # / Description / Price
Price



