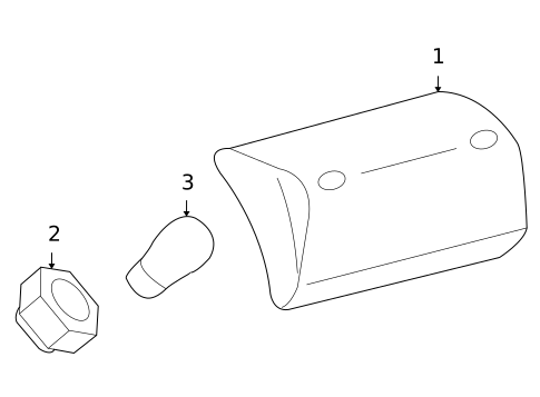
High Mounted Stop Lamp for 2003 Dodge Sprinter 2500
Vehicle
2003 Dodge Sprinter 2500
Change Vehicle
- Bumper & Components - Front
- Bumper & Components - Rear
- Center Pillar
- Cluster & Switches
- Cowl
- Crossmembers & Components
- Door & Components
- Ducts
- Exterior Trim - Fender
- Exterior Trim - Front Door
- Exterior Trim - Hood
- Exterior Trim - Rear Door
- Exterior Trim - Side Panel
- Fender & Components
- Floor
- Frame & Components
- Front Console
- Front Door
- Front Seat Components
- Glass - Front Door
- Glass - Side Door
- Glass - Side Panel
- Glass - Windshield
- Glass & Hardware
- Glove Box
- Grille & Components
- Hinge Pillar
- Hood & Components
- Inner Components
- Inner Structure & Rails
- Instrument Panel
- Instrument Panel Components
- Interior Trim - Front Door
- Interior Trim - Pillars
- Interior Trim - Rear Body
- Interior Trim - Rear Door
- Interior Trim - Roof
- Interior Trim - Side Door
- Interior Trim - Side Panel
- Labels
- Lock & Hardware
- Master Cylinder - Components On Dash Panel
- Outside Mirrors
- Radiator Support
- Rear Door
- Rear Floor & Rails
- Rear Seat Components
- Reveal Moldings
- Rocker
- Roof & Components
- Seat Belt
- Side Panel
- Sliding Door
- Sound System
- Spare Tire Carrier
- Step Assembly
- Structural Components & Rails
- Sunroof
- Tracks & Components
- Wiper & Washer Components
- ABS Components
- Air Bag Components
- Alternator
- Antenna & Radio
- Battery
- Bulbs - Chassis
- Cargo Door
- Combination Lamps
- Control Modules
- Door
- Electrical Components
- Flashers
- Front Door
- Front Seat Belts
- Fuse & Relay
- Gauges
- Headlamp Components
- High Mounted Stop Lamp
- Horn
- Ignition Lock
- Ignition System
- Instruments & Gauges
- Keyless Entry Components
- License Lamps
- Mirrors
- Powertrain Control
- Rear Seat Belts
- Senders
- Side Repeater Lamps
- Sliding Door
- Starter
- Switches
- Switches, Solenoids & Actuators
- Window Defroster
- Wipers
- Wiring Harness
- Bumper & Components - Front
- Bumper & Components - Rear
- Center Pillar
- Cluster & Switches
- Cowl
- Crossmembers & Components
- Door & Components
- Ducts
- Exterior Trim - Fender
- Exterior Trim - Front Door
- Exterior Trim - Hood
- Exterior Trim - Rear Door
- Exterior Trim - Side Panel
- Fender & Components
- Floor
- Frame & Components
- Front Console
- Front Door
- Front Seat Components
- Glass - Front Door
- Glass - Side Door
- Glass - Side Panel
- Glass - Windshield
- Glass & Hardware
- Glove Box
- Grille & Components
- Hinge Pillar
- Hood & Components
- Inner Components
- Inner Structure & Rails
- Instrument Panel
- Instrument Panel Components
- Interior Trim - Front Door
- Interior Trim - Pillars
- Interior Trim - Rear Body
- Interior Trim - Rear Door
- Interior Trim - Roof
- Interior Trim - Side Door
- Interior Trim - Side Panel
- Labels
- Lock & Hardware
- Master Cylinder - Components On Dash Panel
- Outside Mirrors
- Radiator Support
- Rear Door
- Rear Floor & Rails
- Rear Seat Components
- Reveal Moldings
- Rocker
- Roof & Components
- Seat Belt
- Side Panel
- Sliding Door
- Sound System
- Spare Tire Carrier
- Step Assembly
- Structural Components & Rails
- Sunroof
- Tracks & Components
- Wiper & Washer Components
- ABS Components
- Air Bag Components
- Alternator
- Antenna & Radio
- Battery
- Bulbs - Chassis
- Cargo Door
- Combination Lamps
- Control Modules
- Door
- Electrical Components
- Flashers
- Front Door
- Front Seat Belts
- Fuse & Relay
- Gauges
- Headlamp Components
- High Mounted Stop Lamp
- Horn
- Ignition Lock
- Ignition System
- Instruments & Gauges
- Keyless Entry Components
- License Lamps
- Mirrors
- Powertrain Control
- Rear Seat Belts
- Senders
- Side Repeater Lamps
- Sliding Door
- Starter
- Switches
- Switches, Solenoids & Actuators
- Window Defroster
- Wipers
- Wiring Harness
Browse Categories
Select category
- Bumper & Components - Front
- Bumper & Components - Rear
- Center Pillar
- Cluster & Switches
- Cowl
- Crossmembers & Components
- Door & Components
- Ducts
- Exterior Trim - Fender
- Exterior Trim - Front Door
- Exterior Trim - Hood
- Exterior Trim - Rear Door
- Exterior Trim - Side Panel
- Fender & Components
- Floor
- Frame & Components
- Front Console
- Front Door
- Front Seat Components
- Glass - Front Door
- Glass - Side Door
- Glass - Side Panel
- Glass - Windshield
- Glass & Hardware
- Glove Box
- Grille & Components
- Hinge Pillar
- Hood & Components
- Inner Components
- Inner Structure & Rails
- Instrument Panel
- Instrument Panel Components
- Interior Trim - Front Door
- Interior Trim - Pillars
- Interior Trim - Rear Body
- Interior Trim - Rear Door
- Interior Trim - Roof
- Interior Trim - Side Door
- Interior Trim - Side Panel
- Labels
- Lock & Hardware
- Master Cylinder - Components On Dash Panel
- Outside Mirrors
- Radiator Support
- Rear Door
- Rear Floor & Rails
- Rear Seat Components
- Reveal Moldings
- Rocker
- Roof & Components
- Seat Belt
- Side Panel
- Sliding Door
- Sound System
- Spare Tire Carrier
- Step Assembly
- Structural Components & Rails
- Sunroof
- Tracks & Components
- Wiper & Washer Components
- ABS Components
- Air Bag Components
- Alternator
- Antenna & Radio
- Battery
- Bulbs - Chassis
- Cargo Door
- Combination Lamps
- Control Modules
- Door
- Electrical Components
- Flashers
- Front Door
- Front Seat Belts
- Fuse & Relay
- Gauges
- Headlamp Components
- High Mounted Stop Lamp
- Horn
- Ignition Lock
- Ignition System
- Instruments & Gauges
- Keyless Entry Components
- License Lamps
- Mirrors
- Powertrain Control
- Rear Seat Belts
- Senders
- Side Repeater Lamps
- Sliding Door
- Starter
- Switches
- Switches, Solenoids & Actuators
- Window Defroster
- Wipers
- Wiring Harness
- Bumper & Components - Front
- Bumper & Components - Rear
- Center Pillar
- Cluster & Switches
- Cowl
- Crossmembers & Components
- Door & Components
- Ducts
- Exterior Trim - Fender
- Exterior Trim - Front Door
- Exterior Trim - Hood
- Exterior Trim - Rear Door
- Exterior Trim - Side Panel
- Fender & Components
- Floor
- Frame & Components
- Front Console
- Front Door
- Front Seat Components
- Glass - Front Door
- Glass - Side Door
- Glass - Side Panel
- Glass - Windshield
- Glass & Hardware
- Glove Box
- Grille & Components
- Hinge Pillar
- Hood & Components
- Inner Components
- Inner Structure & Rails
- Instrument Panel
- Instrument Panel Components
- Interior Trim - Front Door
- Interior Trim - Pillars
- Interior Trim - Rear Body
- Interior Trim - Rear Door
- Interior Trim - Roof
- Interior Trim - Side Door
- Interior Trim - Side Panel
- Labels
- Lock & Hardware
- Master Cylinder - Components On Dash Panel
- Outside Mirrors
- Radiator Support
- Rear Door
- Rear Floor & Rails
- Rear Seat Components
- Reveal Moldings
- Rocker
- Roof & Components
- Seat Belt
- Side Panel
- Sliding Door
- Sound System
- Spare Tire Carrier
- Step Assembly
- Structural Components & Rails
- Sunroof
- Tracks & Components
- Wiper & Washer Components
- ABS Components
- Air Bag Components
- Alternator
- Antenna & Radio
- Battery
- Bulbs - Chassis
- Cargo Door
- Combination Lamps
- Control Modules
- Door
- Electrical Components
- Flashers
- Front Door
- Front Seat Belts
- Fuse & Relay
- Gauges
- Headlamp Components
- High Mounted Stop Lamp
- Horn
- Ignition Lock
- Ignition System
- Instruments & Gauges
- Keyless Entry Components
- License Lamps
- Mirrors
- Powertrain Control
- Rear Seat Belts
- Senders
- Side Repeater Lamps
- Sliding Door
- Starter
- Switches
- Switches, Solenoids & Actuators
- Window Defroster
- Wipers
- Wiring Harness
No.
Part # / Description / Price
Price



Mopar