Base - Mopar (D518AA3)
1984-1988 Chrysler - d518aa3
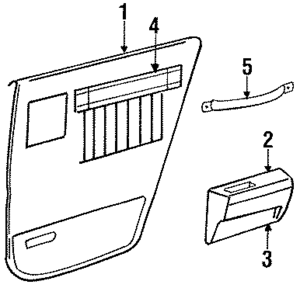
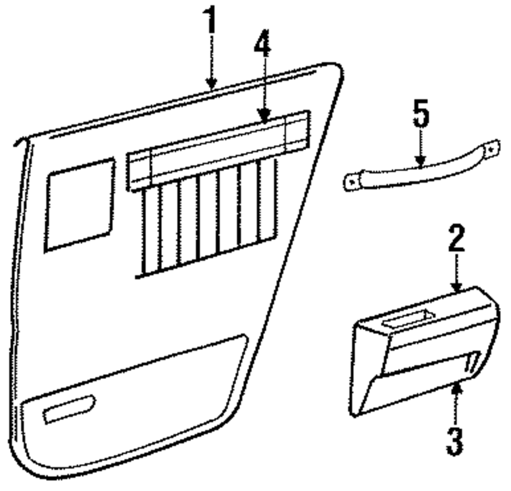
Please Note: Animated diagrams are not guaranteed to depict the part accurately. Please provide your VIN at checkout or contact us to verify fitment.
Would you like to purchase shipping protection?
Enjoy Worry-Free Shipping!
Covers Damaged, Lost, & Stolen Packages!
Starting As Low As $5.00
Mopar
In stock items typically ship within 1-10 business days depending on warehouse location of part. If available locally, it will ship within 1–2 business days. If there is not a number showing quantity in stock below the price, part is located in another warehouse, on backorder, special order, or oversized item and may require additional time.
Details
- Brand:
- SKU:
D518AA3
- Positions: Right
- Other Names:
0d518aa3
- Description:
With power windows.
- Condition: New
- Notes: Order by color and application.
Also Purchased
Vehicle Fitment
| Year | Make | Model | Body & Trim | Engine & Transmission |
|---|
The Truck Lot - Mopar Parts
Searching for somewhere you can trust purchasing genuine parts and accessories for your Mopar vehicle online? You've come to the right place!
The Truck Lot is your go-to online retailer for original Mopar parts and accessories. Use our VIN search feature to find parts that perfectly match your vehicle.
Have questions about a part? Contact us today!



What side is LEFT, and what side is RIGHT?